西安智维拓远科技有限公司

工地劳务实名制管理系统在公路中的应用

 二维码 5
发表时间:2024-05-20 15:25

       工地劳务实名制管理系统集成利用人脸识别技术、实名显示技术、劳务考评、劳务通道流量统计等科技手段运用到建筑领域,建立了企业对多个项目的集中管控,规范了承包商、分包商和班组对劳务人员的管理流程,实现了项目部对劳务人员从进场、考勤、退场的全过程管理,并对接住建部劳务实名制信息系统接口实时数据上传。

        一、工地施工现场人员管理现存的问题

       1、劳务人员流动频繁

       劳务工人多、面广、量大、流动频繁,工人信息手动填写耗时耗力易出错。

      2、项目现场管理混乱

       现场人员随意进出,施工作业区混乱,项目安全性低,易引发用工风险问题。

      3、施工企业在管项目多、管理难

       项目分散,跨省跨市的工程越来越多,施工企业对项目情况模棱两可,一知半解。

       4、主管部门监管难

      主管区域内所有项目,对项目现场建筑工人实名制管理制度落实情况监管不易,没有形成区域内工人、企业、项目信息的统一标准库。

工地劳务实名制管理系统对项目统一集中管控

      二、劳务实名制系统考勤工资管理

      施工现场设立考勤采集点,通过考勤设备核实现场进场人员实名制信息,现场劳务人员核实成功进行打卡签到,劳务管理后台自动生成考勤记录,实时考勤数据实时上传到平台。

同时提供多样化的考勤数据集合方案,为多工人、多工种的企业符合业务发展的考勤需求,通过系统帮助企业实时掌握工人的出勤状况,方便人员的及时调整,保障劳务工人和企业的合法权益,规定劳务工资管理,防止欠薪问题的发生,为可能的劳动纠纷提供法律依据。

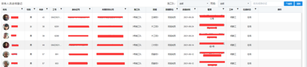
劳务人员管理


考勤管理

      本文由西安智维拓远科技有限公司小编提供,公司主要从事智慧工地管理系统智慧工地解决方案等工作,公司产品涵盖多个领域,致力于高速公路信息系统建设,助力高速公路建设发展。

全站搜索